智能电表的冻结功能指电表可以在设定的时间点,自动保存各类电量数据到电表存储芯片内,冻结数据大都是与电费结算密切相关的数据,比如总电量。
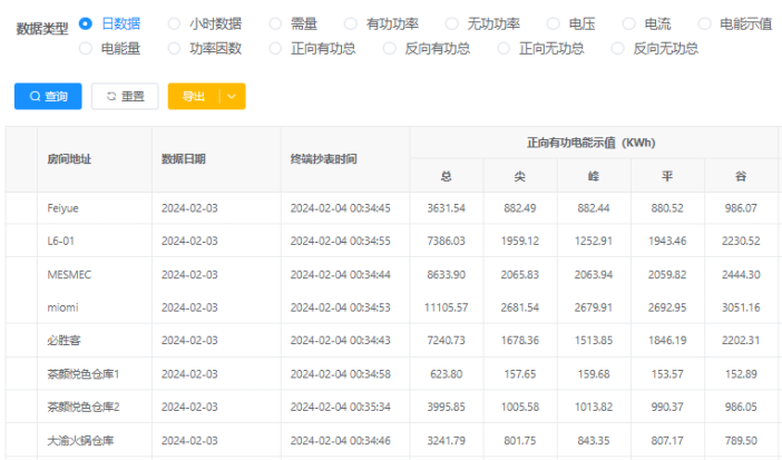
智能电表基本都具备了冻结功能,比如我们家用的单相智能电表,就有日冻结功能,电表每天0点会自动冻结总电量数据,相当于电表本身有个日用电量的报表,通过抄表系统就可以抄读到电表每天的冻结电量数据,从而计算出用户每天用多少电、产生多少电费,我们看下系统抄读到的电表日冻结数据报表及日能耗报表。


日冻结功能结合抄表系统,能清晰地了解用户每天的用电情况,便于管理部门进一步进行用电数据分析和提高供电服务质量。